Sobald ein Bremsbelag bis auf 2mm abgenutzt ist, sind
die Bremsbacken auszutauschen.
Achtung! Bremsbacken
dürfen nur Achsweise
ausgetauscht werden. Der Wechsel der Bremsbacken
sollte in einer Fachwerkstatt erfolgen. Zu beachten ist, dass alle
Bremsbacken einer Achse die gleiche Bremsbelagqualität haben
müssen. Die Zug- und Soannfedern müssen in jedem Fall
ausgetauscht werden.
|
| Vorgehensweise |
| Das Fahrzeug gegen Wegrollen sichern (Handbremse
anziehen / Keile unterlegen), Die Radschrauben anlösen.
Anhänger aufbocken, die Auflaufeinrichtung und Hanbremshebel
(zugkraftfrei) lösen. Räder sowie die Radkappe
demontieren. Vor dem Abziehen der Bremstrommel müssen die
Bremsbacken, durch Drehen des Nachstellbolzens entgegen dem
Uhrzeigersinn, zurückgestellt werden. Die Achsmutter
lösen, Radnabe abnehmen, demontierte Radnaben kennzeichnen,
damit sie bei der Montage nicht vertauscht werden. Die allgemeinen
Wartungsvorschriften müssen beachtet werden. |
| Die Spannfeder (4) sowie die Zugfeder (7)
aushängen und austauschen. Bei Bremsen bis Baujahr 6/98 wird
am Schenknocken der Bolzen (2) und die Zugfeder (5) ausgetauscht. Bei
dieser Variante entfällt die Zugfeder (7). |
| Die Bremsbacken (6) demontieren und austauschen. Das
Bremsschild vom Bremsstaub säubern. Die Montage der Bauteile
erfolgt in umgekehrter Reihenfolge. |
| Vor der Montage der Bremsbacken mu0 die Funktion der
Rückfahrautomatik überprüft werden. Hierbei
ist besonders auf die Leichtgängigkeit des Schwenknockens zu
achten. Evtl. Seitenflächen (Anlageflächen Bremsbacke
und Nachstellmutter) mit CU-Paste einstreichen. |
| Um die einwandfreie Funktion der Bremse zu
gewährleisten, muss die Bremse eingestellt werden. |
| Zur Montage der Radnabe, allgemeine
Wartungsvorschriften beachten. Bei Bremsen, die über ein
Zuggestänge betätigt werden, muss das Bremshebellager
in Achsmitte nachgeschmiert werden. |
 |
| Ein-
bzw. Nachstellung der Radbremse |
Ersatzteile für Radbremse -7 bei www.anhaengerteileshop.de kaufen |
| Schwenknocken der Radbremse mit Hilfswerkzeug
(Abb.Pos.A, Stift Ø 4mm) durch die Absteckbohrung von aussen
arretieren. Nachstellmuttern (Abb.Pos.C) an den Radbremsen mit einem
Schraubendreher (Abb.Pos.B) bzw. je nach Ausführung mit einem
Schraubenschlüssel über einen Nachstellbolzen
(Abb.Pos.D) soweit anziehen, bis der Lauf des Rades in Fahrtrichtung
gehemmt ist. Durch mehrmaliges Betätigen des Feststellbremse
die Bremsbacken zentrieren. |
 |
Ausführung 1:
Nachstellbolzen ca. 1 Umdrehung zurückdrehen, bis bei
Vorwärtsdrehung des Rades keine Bremswirkung mehr
spürbar ist.
Ausführung 2:
Nachstellmutter um ca. 3-5 Zähne zurückdrehen, bis
bei Vorwärtsdrehung des Rades keine Bremswirkung mehr
spürbar ist.
Bei betätigter Feststellbremse die Stellung der
Bremsausgleichswaage überprüfen. Rechtwinklige
Stellung zum Bremsgestänge gleiches Lüftspiel der
Radbremsen. ggf. Bremseinstellung nachjustieren. Zur Probe
Feststellbremse leicht anziehen und gleiches Bremsmoment (in
Fahrtrichtung) links und rechts an den Rädern prüfen.
Arretierung (Stift Ø 4mm) der Schwenknocken entfernen. |
 |
Nachstellung der Übertragungseinrichtung
Vor der Nachstellung der Übertragungseinrichtung immer die
Bremse einstellen.
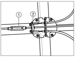
Im abgebockten Zustand das Übertragungsgestänge
spiel- und kraftfrei am Spannschloss (1) oder der Ausgleichswaage (2)
einstellen. Alle Ausgleichswaagen müssen rechtwinklig zum
Bremsgestänge stehen. Alle Kontermuttern der
Bremsübertragung anziehen. |
 |
|